在線咨詢咨詢熱線:400-0755-965
咨詢客服,我們快速為您報價,或者提供技術支持!
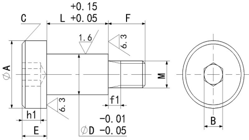
請按照選型步驟①-③選擇型號和參數后進行訂購
訂貨舉例:型式(①Type.②D)- ③L
LCBS4-L6
| 內六角孔 | 材質 | 表面處理 |
| LCBTY | S45C | 四氧化三鐵保護膜 |
| LCBS | SUS303 | / |
| D | L | ||||||||
| 4 | 1 2 3 4 5 6 7 8 | ||||||||
| 5 | 1 2 3 4 5 6 7 8 10 | ||||||||
| 6 | 2 3 4 5 6 7 8 10 | ||||||||
| 8 | 5 6 7 8 9 10 12 20 | ||||||||
| 10 | 5 6 7 8 9 10 12 15 20 | ||||||||
| 12 | 6 7 8 9 10 12 13 15 20 | ||||||||

掃一掃,關注我們